| 索引号: | 11341623003185733H/202503-00023 | 组配分类: | 办事指南 |
| 发布机构: | 利辛县自然资源和规划局 | 主题分类: | 国土资源、能源 / 公民 / 公告 |
| 有效性: | 有效 | 关键词: | 无 |
| 名称: | 《建设工程规划许可证》办事指南 | 文号: | 无 |
| 发文日期: | 2025-03-03 17:55 | 发布日期: | 2025-03-03 17:55 |
一、事项名称
《建设工程规划许可证》核发
二、受理范围
1.申请内容:建设项目在本行政区规划区范围内的建设单位,且建设项目符合上位规划。
2.申请人范围及申请条件:取得有关土地证明材料(含《国有土地使用权证》或《不动产权证》),且土地权属无争议。
三、事项类别
行政许可。
四、设立依据
《中华人民共和国城乡规划法》(2007年10月28日主席令第七十四号,2015年4月24日予以修改)第四十条:在城市、镇规划区内进行建筑物、构筑物、道路、管线和其他工程建设的,建设单位或者个人应当向城市、县人民政府城乡规划主管部门或者省、自治区、直辖市人民政府确定的镇人民政府申请办理建设工程规划许可证。……对符合控制性详细规划和规划条件的,由城市、县人民政府城乡规划主管部门或者省、自治区、直辖市人民政府确定的镇人民政府核发建设工程规划许可证。……第四十四条:在城市、镇规划区内进行临时建设的,应当经城市、县人民政府城乡规划主管部门批准。临时建设影响近期建设规划或者控制性详细规划的实施以及交通、市容、安全等的,不得批准。……
五、受理机构
利辛县自然资源和规划局。
六、决定机构
利辛县自然资源和规划局。
七、许可条件
(一)新办件
1.建设项目在本行政区规划区范围内的建设单位,且建设项目符合上位规划。
2.取得有关土地证明材料(含《国有土地使用权证》或《不动产权证》),且土地权属无争议。
3.设计单位资质符合有关行业管理规定, 且设计文件及图纸资料符合相关法律法规和专业技术规范要求。
4.临时建筑应满足临时建筑规划审批管理的要求;
5.涉及本县历史文化名城保护对象(历史文化名镇名村、历史村镇、历史文化街区、历史地段、不可移动文物、地下文物埋藏区、历史建筑、名人故(旧)居、古树名木、工业遗产、世界文化遗产、世界自然遗产等)的,按照有关法律、法规、程序的规定执行。
不予受理的情形:
1.建设项目不在本行政区规划区范围内,且不符合上位规划。
2.未取得有关土地证明材料(含《国有土地使用权证》或《不动产权证》),土地权属有争议。
3.设计单位资质不符合有关行业管理规定,且设计文件及图纸资料不符合相关法律法规和专业技术规范要求。
4.临时建筑不满足临时建筑规划审批管理的要求。
5.涉及本县历史文化名城保护对象(历史文化名镇名村、历史村镇、历史文化街区、历史地段、不可移动文物、地下文物埋藏区、历史建筑、名人故(旧)居、古树名木、工业遗产、世界文化遗产、世界自然遗产等)不符合相关法律、法规、程序要求。
(二)规划许可证变更
符合行政许可撤销、撤回、注销、变更和延续中行政许可变更条件的,可申请变更;不符合的,不予变更。
(二)规划许可证延期。
因项目在工程规划许可证有效期内未办理施工许可证,申请单位可在《建设工程规划许可证》有效期届满30日前申请延续。
不予批准的情形:建设单位未在规定期限内办理延续的,应当重新办理。
八、申请材料清单
|
事项名称 |
材料序号 |
材料名称 |
材料形式 |
材料类型 |
份数 |
|
建筑工程类 |
1 |
《建设工程规划许可证》申请表 |
原件 |
纸质 |
1 |
|
电子版扫描件 |
1 |
||||
|
2 |
发改部门批准、核准或备案文件 |
复印件 |
纸质 |
1 |
|
|
原件 |
电子版 |
1 |
|||
|
3 |
有关土地证明材料(含《国有土地使用证》或《不动产权证》及宗地图) |
复印件 |
纸质 |
1 |
|
|
原件 |
电子版扫描件 |
1 |
|||
|
4 |
出让用地提供国有土地使用权出让合同(含规划条件);划拨用地提供《建设用地规划许可证》(含条件) |
复印件 |
纸质 |
1 |
|
|
原件 |
扫描件 |
1 |
|||
|
5 |
审查通过的建设工程设计方案及效果图(盖有设计院出图章,且出图章在有效期范围内;设计单位出具对提交成果资料真实、有效的承诺文件) |
原件 |
纸质 |
2 |
|
|
电子版 |
1 |
||||
|
6 |
主管部门审核意见(风景名胜区、本市历史文化名城保护对象保护范围、湖泊、水源保护区等特殊区域内利用现有土地及涉及本市历史文化名城保护对象的建设项目,用地许可阶段以提供过的项目可不再重复提供) |
复印件 |
纸质 |
1 |
|
|
原件 |
扫描件 |
1 |
|||
|
7 |
侵害公有、共有或者相邻房屋所有权人利益的项目,提供房屋所有人、共有人或利害关系人书面意见 |
原件 |
纸质 |
1 |
|
|
扫描件 |
1 |
||||
|
修缮工程,含历史建筑修缮 |
1 |
《建设工程规划许可证》申请表 |
原件 |
纸质 |
1 |
|
电子版扫描件 |
1 |
||||
|
2 |
《国有土地使用证》和《房屋产权证》,或《不动产证》 |
复印件 |
纸质 |
1 |
|
|
原件 |
电子版 |
1 |
|||
|
3 |
涉及房屋结构安全的项目,须出具房屋安全部门鉴定意见。 |
复印件 |
纸质 |
1 |
|
|
原件 |
电子版扫描件 |
1 |
|||
|
4 |
侵害公有、共有或者相邻房屋所有权人利益的项目,提供房屋所有人、共有人或利害关系人书面意见 |
复印件 |
纸质 |
1 |
|
|
原件 |
扫描件 |
1 |
|||
|
5 |
审查通过的修缮工程方案(盖有设计院出图章,且出图章在有效期范围内;设计单位出具对提交成果资料真实、有效的承诺文件) |
原件 |
纸质 |
2 |
|
|
电子版 |
1 |
||||
|
6 |
涉及本市历史文化名城保护对象的,应提供相应级别行政主管部门书面意见。 |
复印件 |
纸质 |
1 |
|
|
原件 |
扫描件 |
1 |
|||
|
临时工程类 |
1 |
《建设工程规划许可证》申请表 |
原件 |
纸质 |
1 |
|
电子版扫描件 |
1 |
||||
|
2 |
有关土地证明材料或土地使用证 |
复印件 |
纸质 |
1 |
|
|
原件 |
电子版扫描件 |
1 |
|||
|
3 |
审查通过的临时建筑规划设计方案(盖有设计院出图章,且出图章在有效期范围内;设计单位出具对提交成果资料真实、有效的承诺文件) |
原件 |
纸质 |
2 |
|
|
电子版 |
1 |
||||
|
4 |
主管部门审核意见(风景名胜区、本市历史文化名城保护对象保护范围、湖泊、水源保护区等特殊区域内利用现有土地及涉及本市历史文化名城保护对象的建设项目,用地许可阶段以提供过的项目可不再重复提供) |
复印件 |
纸质 |
1 |
|
|
原件 |
扫描件 |
1 |
|||
|
5 |
侵害公有、共有或者相邻房屋所有权人利益的项目,提供房屋所有人、共有人或利害关系人书面意见 |
原件 |
纸质 |
1 |
|
|
扫描件 |
1 |
||||
|
交通工程类 |
1 |
《建设工程规划许可证》申请表 |
原件 |
纸质 |
1 |
|
电子版扫描件 |
1 |
||||
|
2 |
有关土地证明材料 |
复印件 |
纸质 |
1 |
|
|
原件 |
电子版扫描件 |
1 |
|||
|
3 |
需要征(借)用地进行建设的项目,土地权属文件或借地协议。 |
复印件 |
纸质 |
1 |
|
|
原件 |
电子版扫描件 |
1 |
|||
|
4 |
符合设计要求的交通工程规划方案图(盖有设计院出图章,且出图章在有效期范围内;设计单位出具对提交成果资料真实、有效的承诺文件) |
原件 |
纸质 |
2 |
|
|
电子版 |
1 |
||||
|
管线工程类 |
1 |
《建设工程规划许可证》申请表 |
原件 |
纸质 |
1 |
|
电子版扫描件 |
1 |
||||
|
2 |
有关土地证明材料 |
复印件 |
纸质 |
1 |
|
|
原件 |
电子版扫描件 |
1 |
|||
|
3 |
符合设计要求的管线规划方案图(盖有设计院出图章,且出图章在有效期范围内;设计单位出具对提交成果资料真实、有效的承诺文件) |
原件 |
纸质 |
2 |
|
|
电子版 |
1 |
||||
|
4 |
根据地方地下管线管理需要提供,地下管线跟踪测量合同 |
复印件 |
纸质 |
1 |
|
|
原件 |
扫描件 |
1 |
|||
|
5 |
需要征(借)用地进行建设的项目,土地权属文件或借地协议。 |
原件 |
纸质 |
1 |
|
|
扫描件 |
1 |
||||
|
变更(含附图变更) |
1 |
《建设工程规划许可证》变更申请或申请表 |
原件 |
原件 |
1 |
|
扫描件 |
1 |
||||
|
2 |
已核发的《建设工程规划许可证》(含附图) |
原件 |
纸质 |
1 |
|
|
3 |
涉及附图变更,提供重新审查通过的建设工程设计方案及效果图(盖有设计院出图章,且出图章在有效期范围内;设计单位出具对提交成果资料真实、有效的承诺文件) |
原件 |
纸质 |
1 |
|
|
扫描件 |
1 |
||||
|
4 |
有关变更原因等资料(因情形较多,按照变更的不同情形分别提供资料) |
原件 |
纸质 |
1 |
|
|
扫描件 |
1 |
||||
|
5 |
侵害公有、共有或者相邻房屋所有权人利益的项目,提供房屋所有人、共有人或利害关系人书面意见 |
原件 |
纸质 |
1 |
|
|
扫描件 |
1 |
||||
|
延期 |
1 |
《建设工程规划许可证》延期申请或申请表 |
原件 |
纸质 |
1 |
|
扫描件 |
1 |
||||
|
2 |
已核发的《建设工程规划许可证》(含附图) |
原件 |
纸质 |
1 |
九、办理方式
(一)窗口提交。
受理窗口:利辛县前进路和政通路交叉口西侧县政务服务中心二楼工程建设项目审批综合窗口。
(二)网上受理。
登录安徽政务服务网—亳州市—利辛县—利辛县自然资源和规划局—建设工程规划许可证。
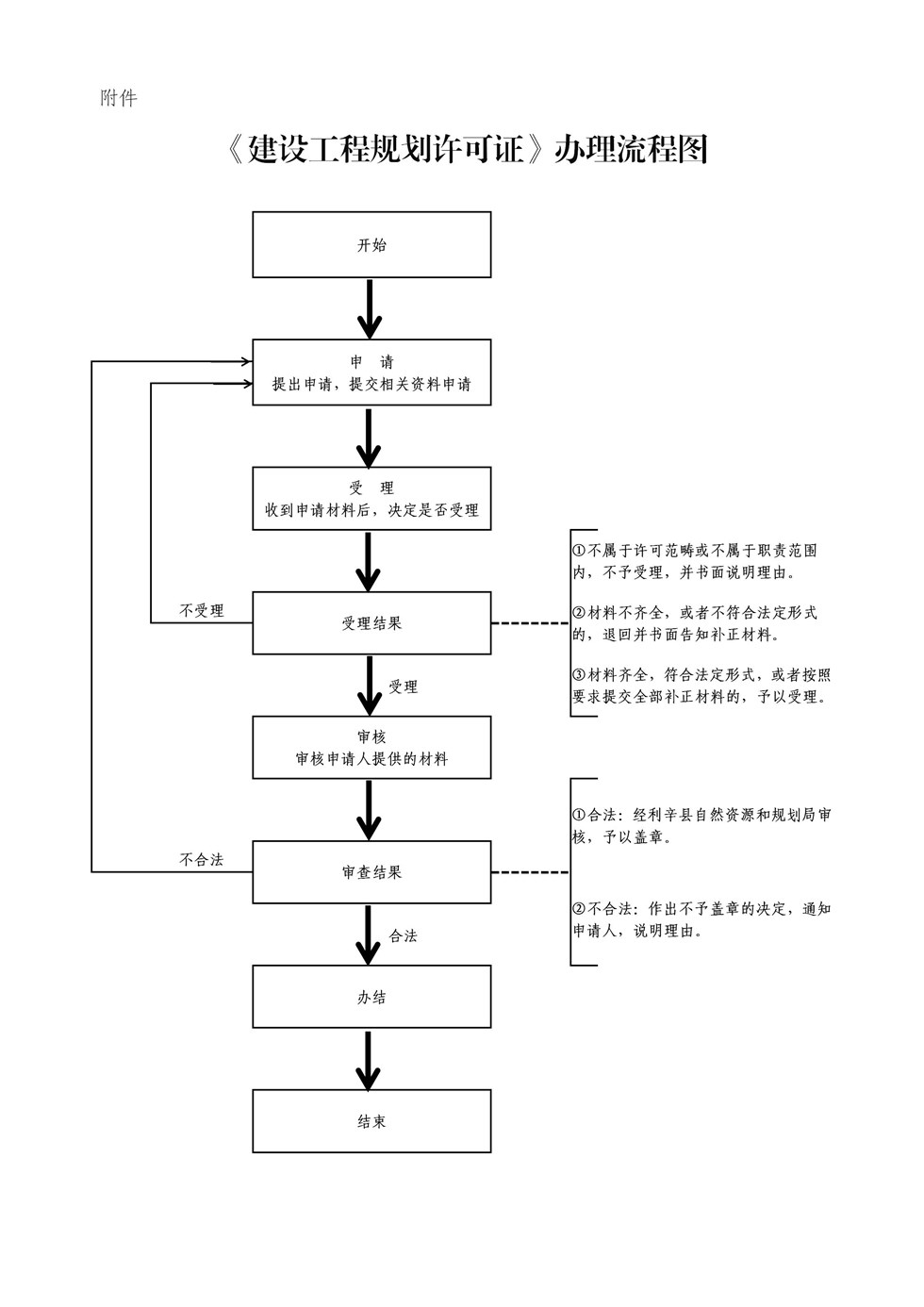
十、办理流程
第一步:申请人登录安徽政务网,找到亳州市利辛县自然资源和规划局窗口,点击在线申办。
第二步:上传申请材料,点击提交,出现提交成功页面。
第三步:县自然资源和规划局受理岗对提交材料进行核对,若提交材料齐全,则进入受理环节,发放受理通知书(短信形式通知申请人)。
第四步:受理完成后,县自然资源和规划局审查岗对材料的真实性完整性进行审查。
第五步:审批办结后,邮寄至申请人。
十一、审批时限
(一)法定时限
受理后20个工作日。
(二)承诺时限
受理后1个工作日。(说明不包含其他22个工作日)
十二、许可收费及依据
本许可事项不收费。
十三、审批结果及送达方式
审批结果:颁发《建设工程规划许可证》。
现场领取。地址:利辛县前进路和政通路交叉口西侧县政务服务中心二楼工程建设项目审批综合窗口。受理时间:星期一至星期五(法定节假日除外)上午8:00—12:00,中午14:30—17:30。
快递投送。
十四、行政救济途径与方式
(一)申请人在申请行政审批过程中,依法享有陈述权、申辩权;
(二)申请人的行政许可申请被驳回的有权要求说明理由;
(三)申请人不服行政许可决定的,有权依法申请行政复议或者提起行政诉讼。申请人认为审批结果侵犯其合法权益,可以自收到行政许可结果之日起60日内向利辛县人民政府或亳州市自然资源和规划局提出行政复议,或收到自收到行政许可结果之日起六个月内向利辛县人民法院提起行政诉讼。
十五、咨询方式
(一)现场咨询
利辛县前进路和政通路交叉口西侧县政务服务中心二楼工程建设项目审批综合窗口,时间:法定工作日(节假日除外)
(二)电话咨询
0558-8817569,时间:法定工作日(节假日除外)。
(三)监督投诉
窗口投诉:利辛县前进路863号利辛县自然资源和规划局信访办公室。
电话投诉:0558—8856923(局信访工作办公室)。
信函投诉:利辛县自然资源和规划局办公室(投诉受理部门名称);利辛县前进路863号利辛县自然资源和规划局(通讯地址);236700(邮政编码)。
十六、监督投诉渠道
窗口投诉:利辛县前进路和政通路交叉口西侧县政务服务中心二楼工程建设项目审批综合窗口。
电话投诉:0558—8856923(局信访工作办公室)。
十七、办理地址和时间
地址:利辛县前进路和政通路交叉口西侧县政务服务中心二楼工程建设项目审批综合窗口,邮政编码:236700。
时间:星期一至星期五(法定节假日除外)上午8:00—12:00,下午14:30—17:30。
十八、办理进程和结果查询
(一)办理进程查询方式
1.现场查询
地址:利辛县前进路和政通路交叉口西侧县政务服务中心二楼工程建设项目审批综合窗口。
受理时间:星期一至星期五(法定节假日除外)上午8:00—12:00,下午14:30—17:30。
2.电话查询
0558—8817569。
3.网上查询。登录安徽政务服务网—个人空间—我的办事。
(二)结果公开查询方式
1.现场查询
地址:利辛县前进路和政通路交叉口西侧县政务服务中心二楼工程建设项目审批综合窗口。
受理时间:星期一至星期五(法定节假日除外)上午8:00—12:00,下午14:30—17:30。
2.电话查询
0558—8817569。
3.网上查询。登录安徽政务服务网—个人空间—我的办事。

扫一扫在手机打开当前页