中国政府网 省政府 市政府

繁体中文  |  长者版  |  无障碍  | 

返回首页
您现在所在的位置: 网站首页 > 政府信息公开 > 专题首页 > 权责清单 > 内容详情
索引号: 11341623MB1903295J/202501-00057 组配分类: 权责清单
发布机构: 利辛县税务局 主题分类: 财政、金融、审计
有效性: 有效 关键词:
名称: 国家税务总局利辛县税务局税务行政职权运行流程图 文号:
发文日期: 2025-01-06 15:40 发布日期: 2025-01-06 15:40

国家税务总局利辛县税务局税务行政职权运行流程图

发布时间:2025-01-06 15:40 来源:利辛县税务局 浏览:5012 次
【字体大小:

一、行政征收

 

1.1.1增值税征收


1.1.2增值税减免



1.1.3农产品增值税进项税额核定扣除试点纳税人的扣除标准核定



1.1.4对逾期增值税扣税凭证继续抵扣的核准



1.1.5对未按期申报抵扣增值税扣税凭证申请继续抵扣的核准



1.1.6对汇总缴纳增值税的核准



1.1.7增值税留抵税额退税



1.2.1消费税征收



1.2.2消费税减免



1.2.3对汇总缴纳消费税的核准



1.3.1车辆购置税征收



1.3.2车辆购置税减免



1.4.1企业所得税征收



1.4.2企业所得税减免



1.4.3居民企业所得税核定



1.4.4非居民企业所得税核定



1.4.5房地产开发产品视同销售的收入(或利润)确定



1.4.6单边预约定价安排谈签(含续签)



1.5.1个人所得税征收



1.5.2个人所得税减免



1.5.3个人独资企业和合伙企业投资者个人所得税核定



1.6.1土地增值税征收



1.6.2土地增值税减免



1.6.3土地增值税清算核定



1.7.1房产税征收



1.7.2房产税减免



1.8.1城镇土地使用税征收



1.8.2城镇土地使用税减免



1.9.1耕地占用税征收



1.9.2耕地占用税减免



1.10.1契税征收



1.10.2契税减免



1.11.1资源税征收



1.11.2资源税减免



1.12.1车船税征收



1.12.2车船税减免



1.13.1印花税征收



1.13.2印花税减免



1.14.1城市维护建设税征收



1.14.2城市维护建设税减免


1.15烟叶税征收管理



1.16.1环境保护税征收



1.16.2环境保护税减免



1.16.3环境保护税核定



1.17非居民纳税人享受协定待遇管理



1.18.1出口货物劳务及应税服务退(免)税办理



1.18.2出口退(免)税相关证明的出具



1.19个体工商户税收定期定额核定



1.20核定应纳税额




1.21多缴税款退(抵)





1.22税款追征追缴





1.23委托代征


1.24税收优先权



1.25代位权、撤销权



1.26未开具税收票证损失核销



1.27.1-1.27.8社会保险费征收

1.28.1教育费附加征收

1.28.2地方教育附加征收

1.28.3残疾人就业保障金征收

1.28.4文化事业建设费征收

1.28.5地方水利建设基金征收

1.28.6废弃电器电子产品处理基金征收

二、行政强制

 

2.1查封、扣押商品、货物或者其他财产

2.2冻结存款

2.3加处罚款

2.4强制扣缴税款、滞纳金、罚款

2.5拍卖、变卖商品、货物或者其他财产

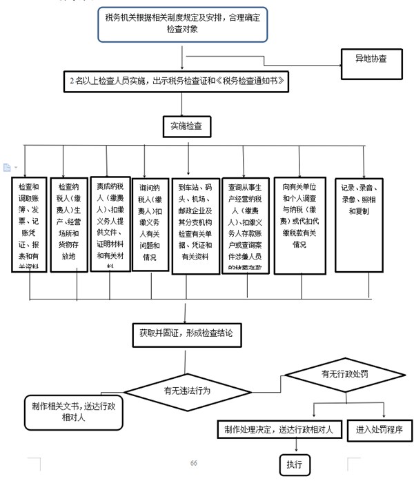
三、行政检查

 

3.1行政检查

3.2特别纳税调整

四、行政处罚

 

    简易程序

    一般程序

说明:《权责事项表》行政处罚事项中,根据具体情况既可能适用简易程序又可能适用一般程序的事项包括

4.1.1对未按照规定期限办理税务登记、变更或者注销税务登记,未按照规定报告银行账号的处罚

4.1.3对未按照规定办理税务登记证件验证或者换证手续的处罚

4.1.5对纳税人不办理税务登记的处罚

4.1.6对纳税人通过提供虚假的证明资料等手段,骗取税务登记证的处罚

4.1.7对扣缴义务人未按照规定办理扣缴税款登记的处罚

4.1.8对境内机构或个人发包工程作业或劳务项目,未按规定向主管税务机关报告有关事项的处罚

4.2.1对未按照规定设置、保管账簿或者保管记账凭证和有关资料,未按照规定报送财务、会计制度、办法和会计核算软件,未按照规定安装、使用或者损毁、擅自改动税控装置的处罚

4.2.2对扣缴义务人未按照规定设置、保管代扣代缴、代收代缴税款账簿或者保管代扣代缴、代收代缴税款记账凭证及有关资料的处罚

4.3.1对未按照规定的期限办理纳税申报和报送申报资料,未按照规定的期限报送代扣代缴、代收代缴税款报告表和有关资料的处罚

4.3.2对纳税人、扣缴义务人编造虚假计税依据的处罚

4.4.2对纳税人不进行纳税申报,不缴或者少缴应纳税款的处罚

4.4.6对纳税人、扣缴义务人在规定期限内不缴或者少缴应纳或者应解缴的税款,经税务机关责令限期缴纳,逾期仍未缴纳的处罚

4.4.7对扣缴义务人应扣未扣、应收未收税款的处罚

4.4.8对未经税务机关依法委托征收税款的处罚

4.4.9对为纳税人、扣缴义务人非法提供银行账户、发票、证明或者其他方便,导致未缴、少缴税款或者骗取国家出口退税款的处罚

4.4.10对纳税人拒绝代扣、代收税款以及拒不缴纳税款的处罚

4.4.11对税务代理人违反税收法律、行政法规,造成纳税人未缴或者少缴税款的处罚

4.5.1对纳税人、扣缴义务人逃避、拒绝或者以其他方式阻挠税务机关检查的处罚

4.5.3对有关单位拒绝税务机关依照税收征管法第五十四条第(五)项的规定,到车站、码头、机场、邮政企业及其分支机构检查纳税人有关情况的处罚

4.6.2对未按照规定开具、使用、缴销、存放、保管发票,未按照规定报备非税控电子器具使用的软件程序说明资料,未按照规定保存、报送开具发票数据的处罚

4.6.3对违反规定携带、邮寄、运输空白发票或者丢失、擅自损毁发票的处罚

4.6.4对虚开或者非法代开发票的处罚

4.6.7对违反发票管理法规,导致其他单位或者个人未缴、少缴或者骗取税款的处罚

4.6.8对扣缴义务人未按照《税收票证管理办法》开具税收票证的处罚

4.6.9对自行填开税收票证的纳税人违反《税收票证管理办法》及相关规定的处罚

4.7.1对采取欺骗、隐瞒等手段提供担保或者为实施虚假担保提供方便的处罚

4.7.2对纳税人采取欺骗、隐瞒等手段提供担保,造成应缴税款损失的处罚

 

《权责事项表》行政处罚事项中,仅适用一般程序的事项包括

4.1.2对未按照规定使用税务登记证件或者转借、涂改、损毁、买卖、伪造税务登记证件的处罚

4.1.4对银行和其他金融机构未依法在从事生产、经营的纳税人的账户中登录税务登记证件号码,或者未按规定在税务登记证件中登录从事生产、经营的纳税人的账户账号的处罚

4.2.3对非法印制、转借、倒卖、变造或者伪造完税凭证的处罚

4.4.1对纳税人伪造、变造、隐匿、擅自销毁账簿、记账凭证,或者在账簿上多列支出或者不列、少列收入,或者经税务机关通知申报而拒不申报或者进行虚假的纳税申报,不缴或者少缴应纳税款;扣缴义务人采取上述手段,不缴或者少缴已扣、已收税款的处罚

4.4.3对纳税人欠缴应纳税款,采取转移或者隐匿财产的手段,妨碍税务机关追缴欠缴税款的处罚

4.4.4对以假报出口或者其他欺骗手段,骗取国家出口退税款的处罚

4.4.5对以暴力、威胁方法拒不缴纳税款的处罚

4.5.2对纳税人、扣缴义务人的开户银行或者其他金融机构拒绝接受税务机关依法检查纳税人、扣缴义务人存款账户,或者拒绝执行税务机关作出的冻结存款或者扣缴税款的决定,或者在接到税务机关的书面通知后帮助纳税人、扣缴义务人转移存款,造成税款流失的处罚

4.6.1对违反规定非法印制发票的处罚

4.6.5对私自印制、伪造、变造发票,非法制造发票防伪专用品,伪造发票监制章的处罚

4.6.6对转借、转让、介绍他人转让发票、发票监制章和发票防伪专用品,或者受让、开具、存放、携带、邮寄、运输知道或者应当知道是私自印制、伪造、变造、非法取得或者废止的发票的处罚

 

五、行政许可

5.1对纳税人延期申报的核准

5.2对纳税人变更纳税定额的核准

5.3增值税专用发票(增值税税控系统)最高开票限额审批

5.4对采取实际利润额预缴以外的其他企业所得税预缴方式的核定

六、行政确认

 

6.1非正常户认定和解除

6.2中国税收居民身份认定

6.3境外注册的中资控股企业依据实际管理机构标准判定为中国居民企业的认定

6.4.1对发票领用的确认

6.4.2对使用印有本单位名称发票的确认

6.4.3发票真伪鉴别

6.5对纳税担保的确认

6.6纳税信用评价

6.7出口退(免)税企业分类管理评定

6.8退税商店确认

八、其他

 

8.1加收滞纳金

8.2发布欠税公告

8.3对涉税专业服务机构的监管

8.5税务登记

 

税务登记

扣缴税款登记

8.6增值税一般纳税人资格登记(转登记)

 

增值税一般纳税人资格登记

增值税一般纳税人转登记为小规模纳税人

8.7代开发票

8.8通知出入境管理机关阻止欠税人出境



8.9收缴或停供发票


扫一扫在手机打开当前页